
1、可以直接在后台下单,或者扫码报修,生成的所有工单会显示在该模块管理上。
2、筛选列表,筛选工单号,工程师,工单状态,设备,报修时间。
![]()
3、快速筛选工单状态列表,根据工单状态,快速筛选工单列表
![]()
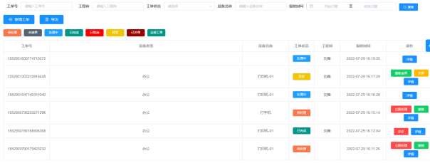
4、工单列表,展示工单号,设备类型、设备名称、工单状态、工程师、报修时间。

5、新增工单,点击弹出新增工单窗口,填写报修部门、报修区域、详细地址、选择故障类型、设备名称、设备类型、填写报修人姓名、联系电话、故障描述、上传图片,选择紧急程度。其中详细地址、故障类型、报修姓名、联系电话、故障描述必填。点击确定,将会生成一条新工单。

6、导出工单,导出筛选条件下的工单详细信息。
7、操作内容,待处理的为:立即处理,撤销,详情;未接单:重新派单,撤销,详情;处理中/已取消:详情;异常的为:重新派单,关单,详情;已完成的为:评价,详情。
8、立即处理,点击弹出立即处理窗口,点击弹出立即处理窗口,展示工单信息,基础信息,报修信息,进行派单操作。


9、撤销,点击弹出撤销工单窗口,填写撤单理由。

10、详情,点击弹出详情窗口,展示故障信息,基础信息,报修信息,维修信息,设备信息,工单信息,评价信息,工单进度。有些工单状态没有某些信息,如评价信息等。

11、关单,点击弹出确认窗口,点击确认后,该工单变成已完成工单。

12、评价,点击弹出评价窗口,选择处理时效、服务态度、技术水平星级,选择评价标签,填写服务评价内容。
